形から入る
ポリゴンとは
ポリゴンは一般に「多角形」を意味する言葉ですが、地理データでは特に特定の区域を囲った形を意味します。
都道府県の形や市区町村、土地の区域などをわかりやすく表現するために使用されます。
Tableauにも標準搭載されているポリゴンデータがありますが、今回は「国土数値情報ダウンロードサイト」に掲載されているポリゴンデータを使用して、東京都市区町村のデータを可視化してみました。
手順
実施した手順は下記の通りです。
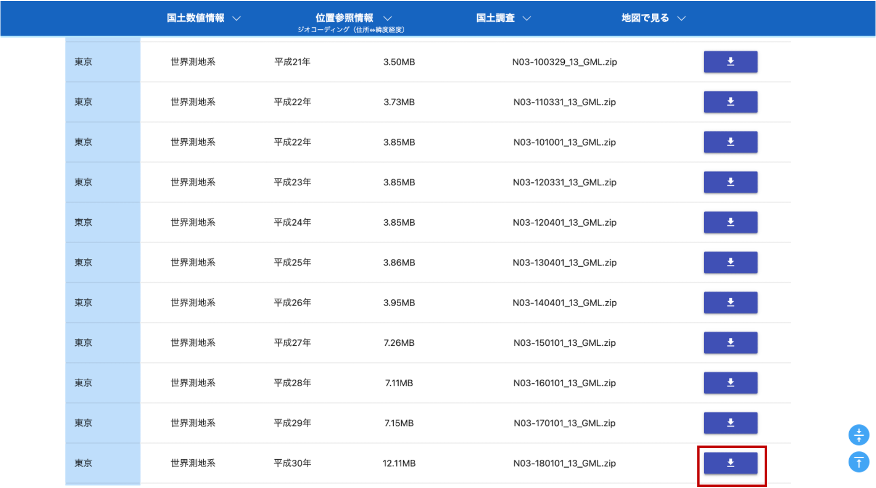
- 国土数値情報ダウンロードサイト」にアクセスし、東京都のファイルをダウンロードする(アンケートはスキップすることも可能)

- ダウンロードしたzipファイルを解凍しておく。
- 使用したい市区町村別のデータと、ダウンロードしたファイルの中のgeojson形式のファイルを結合する。
geojsonファイルを指定する際は、「空間ファイル」を選択。
geojsonファイル内の「N03 004」列に市区町村が入っているので、今回はそちらをKeyに使用。
- マークタイプを「マップ」にし、[ジオメトリ]を「詳細」に入れ、マップを作成する。

今回はTableau標準以外のポリゴンデータを使用したマップを表現してみました。
探してみると、他にも様々なポリゴンデータがあるかもしれません。
ぜひ試してみてください!
Tableau Public

コメント